With the continuous development of commercial freedom, the demand for SGTMOSFET in DC/AC converters is also continuously expanding. How should DC/AC converter managers choose SGTMOSFET to match their circuits?
The products of SGTMOSFET on the market often have common problems such as poor heat dissipation, electromagnetic interference, and low efficiency. These key factors are directly related to the reliable operation of DC/AC converter equipment, so high-quality SGTMOSFET with reliable supply sources is extremely important for market advantage.

In the electronic engineering of DC/AC converters, technicians need to pay special attention to the performance indicators when choosing the HYG045N10NS1P model SGTMOSFET. For example, whether the rated current can meet 172A, whether the voltage can reach 100V, etc. These indicators directly affect the device's work efficiency.
According to the technicians in the DC/AC converter field, choosing the FHA170N1F4A SGTMOSFET product is a solution that matches the technical parameters of the HYG045N10NS1P model. Friends are advised to carefully note the detailed parameters:
1. Maximum gate-source voltage: ±20V
2. N-channel enhancement-mode field-effect transistor
3. Has a current of 172A and a voltage of 100V
4. Maximum forward pulse current: 480A
5. Static on-resistance RDS(ON): 3.6mΩ (Typ), 4.4mΩ (Max)
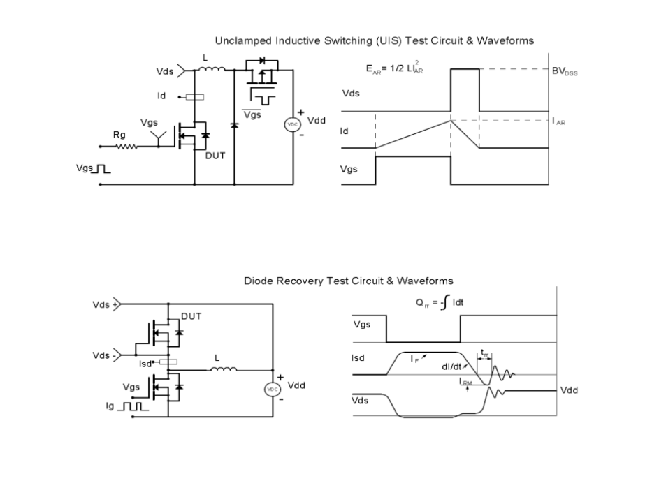
6. 100% avalanche tested
7. VGS(th): 2.0-4.0V

Related parents introduced that since Feihong Semiconductor is a professional SGTMOSFET manufacturer in Fujian Province, the FHA170N1F4A model SGTMOSFET was chosen for use in DC/AC converters.
The starting point for improving the performance of the DC/AC converter circuit is control capability. The FHA170N1F4A type SGTMOSFET from Feihong Semiconductor ensures the resolution of problems such as poor heat dissipation, electromagnetic interference, and low efficiency with its powerful parameters of 172A and 100V.
Feihong Semiconductor provides the FHA170N1F4A model SGTMOSFET, which is the preferred choice for electronic product manufacturers such as DC/AC converters, inverters, and online UPS systems, solving various problems in circuit development. To ensure component supply, please contact the free sample hotline: 400-831-6077!